新闻资讯 如何寻找庄股?寻找庄股有哪些技巧和要点? 在股票市场中,庄股是指被庄家操控的股票,寻找这类股票需要掌握一定的技巧和要点。下面为您详细介绍一些有效的方法。首先,从成交量方面进行分析。庄股在吸筹阶段,成交量往往会呈现温和放大的态势。这是因为庄家在慢慢收集筹码,不... 2025-07-0183513 阅读835 评论优秀先生
新闻资讯 金融回调,其他普涨 今日市场内外围基本面风险偏好,金融板块回调,其他板块普涨反弹,延续机构资金高低切、量化资金主导轮动模式。军贸概念全天领涨,脑机接口、光刻机等概念表现活跃,午后新能源发力。回调板块主要是银行、证券等大金融。军贸因周末歼... 2025-07-0145013 阅读450 评论优秀先生
徐小明、冯矿伟等十大投资名市直播解盘:市场全线反弹,短线盯紧这一点位! 炒股就看金麒麟分析师研报,权威,专业,及时,全面,助您挖掘潜力主题机会!徐小明、冯矿伟等十大投资名师在线直播解盘>> 徐小明:短线盯紧这一点位! 冯矿伟:还是需要多一点耐心的... 2025-07-0124312 阅读243 评论优秀先生
新闻资讯 有古怪!最近很多人曝光,打网约车被问“太阳大还是月亮大”? 来源:新闻坊“请问是太阳大还是月亮大?”“天王盖地虎,下一句是什么?”“1+1="2"吗?”“《战狼》当中吴京一共打出了多少发子弹?”你敢相信?这些看似无厘头的问题居然成了打车前的必答题司机还美其名... 2025-07-0176212 阅读762 评论优秀先生
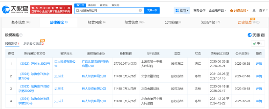
新闻资讯 史玉柱名下巨人投资所持2.77亿股权被冻结 新浪科技讯7月1日上午消息,天眼查深度风险信息显示,近日,巨人投资有限公司新增一则股权冻结信息,股权所在企业为广西北部湾银行股份有限公司,冻结股权数额约2.77亿人民币,冻结期限自2025年6月25日至2028年6... 2025-07-0127712 阅读277 评论优秀先生
新闻资讯 Meta股价创新高!扎克伯格“官宣”超级智能实验室 11人豪华团队首曝光 财联社7月1日讯(编辑刘蕊)美东时间周一,Meta公司CEO扎克伯格表示,他正在创建Meta超级智能实验室(MetaSuperintelligenceLabs)。该实验室将由公司最近聘用的AI精英们领导,包括... 2025-07-0186812 阅读868 评论优秀先生
博时宏观观点:海外地缘冲突缓解,全球风险偏好回暖 海外方面,地缘冲突风险溢价回落,原油、黄金出现调整;美联储鸽派倾向上升,降息预期更为乐观,全球风险偏好有所回暖。国内方面,5月工业企业利润同比增长-9.0%,较前值2.9%回落,拆分来看,量价以及利润率均偏弱。国内... 2025-07-0146512 阅读465 评论优秀先生
新闻资讯 微软推出新一代Surface Laptop与Surface Pro,今日起在中国市场开启预售 新浪数码讯7月1日上午消息,微软中国今日宣布,全新SurfaceLaptop,13英寸和SurfacePro,12英寸在中国市场开启预售和预定,并将于2025年7月15日正式上市。用户可通过微软中国官方商城和... 2025-07-0149613 阅读496 评论优秀先生
新闻资讯 南方基金旗下红利低波50ETF(515450)突破100亿元 今年以来,A股市场持续震荡,得益于红利低波策略的“细水长流”,相关ETF产品在震荡环境中备受市场青睐。上交所数据显示,截至6月30日,南方红利低波50ETF(515450)最新规模突破100亿元。据了解,南方红利... 2025-07-0139013 阅读390 评论优秀先生
美联储7月会降息吗?高盛:本周非农成关键 9月降息几率超50%! 财联社7月1日讯(编辑卞纯)近期,随着美联储官员就“何时恢复降息”爆发内讧,并引发广泛的讨论,美联储的货币政策走向成为投资者关注的焦点。高盛周一最新预测,美联储将于今年9月恢复降息,较先前预估的12月提前了3个月... 2025-07-0147112 阅读471 评论优秀先生