出品:新浪财经上市公司研究院
作者:浪头饮食/ 郝显
近日,绝味食品(维权)接连发布公告对旗下私募股权基金进行延期。
6月27日,公司发布公告表示旗下股权投资基金湖南肆壹伍私募股权基金企业(有限合伙)(以下简称“湖南肆壹伍基金”)存续期即将届满,合伙人会议决定将存续期延长一年。
而在此前的6月19日,公司宣布将旗下广州绝了股权投资基金合伙企业(有限合伙)(以下简称“绝了一期基金”)存续期再延长一年,这已经是第二次延期。
绝味食品2017年上市以来一直热衷于对外投资,上述基金只是其投资版图的冰山一角。根据公开信息,此次延期的湖南肆壹伍基金目前对外投资7个项目,其中不少公司最后一轮融资停留在2021年。
从整体来看,2024年绝味食品投资净收益为-1.6亿元,比2023年多亏损0.44亿元。在销售下滑、门店减少的同时,绝味食品规模庞大的投资中蕴藏的风险同样不容忽视。
股权投资基金延期 绝味食品多元化投资成拖累
近日,绝味食品发布公告,称全资子公司参与设立的股权投资基金——湖南肆壹伍私募股权基金企业(有限合伙)(以下简称“湖南肆壹伍基金”)存续期即将届满,为了保证基金的正常运作和已投资项目的顺利退出,湖南肆壹伍基金于召开全体合伙人会议,决定将存续期延长一年,合伙期限由2018年7月10日至2025年7月9日变更为2018年7月10日至2026年7月9日。
湖南肆壹伍基金成立于2018年7月,由绝味食品全资子公司深圳网聚投资有限责任公司(以下简称“网聚资本”)出资2.97亿元作为有限合伙人参与设立。基金规模3亿元,网聚资本持有99%的权益,2028年3月,基金认缴出资总额由3.00亿元人民币增加至4.545亿元。
在公告中,绝味食品表示,延长存续期是基于对资本市场环境和投资项目情况的综合研判,不会对公司当期业绩产生重大影响。
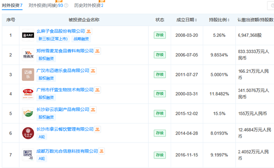
根据天眼查信息,目前湖南肆壹伍基金对外投资公司总共有7家,具体情况如下:

其中幺麻子食品股份有限公司(以下简称“幺麻子”)2023年曾计划在主板上市,后主动终止上市进程,转而选择挂牌新三板。不过目前幺麻子在二级市场没有交易,没有可供参考的估值。从业绩表现来看,2021年及2022年幺麻子连续两年净利润大幅下滑,2023年净利润才回到2019年的水平,而根据公开信息,网聚资本正是2019年进入幺麻子股东名单。
此外,郑州卖雪龙食品、广州市迈德乐、广州市仟壹生物、长沙彩云副产品均只完成过一轮融资,其中郑州卖雪龙食品距离上次融资已经过去了近五年时间,其他几家公司最后一轮融资也主要集中在2021年。
湖南肆壹伍基金是绝味食品投资版图的冰山一角。网聚资本是绝味食品对外投资的主要平台,该公司成立于2014年,围绕卤味、特色味型调味品、轻餐饮等领域展开了一系列投资。根据天眼查信息,网聚资本对外投资了35家公司,其中既包含直接投资标的,也包含私募股权投资基金。
从2017年以来,绝味食品投资活动现金流持续流出,8年时间总共流出65.09亿元,与经营活动现金流净额持平。持续对外投资吞噬了现金流,导致前几年公司股利支付率一直保持在30%-45%的低位,2023年以来,由于净利润大幅下滑,分红金额未降,股利支付率才得以大幅提升。
2020年以来,绝味食品五年时间内有四年投资净收益为负,总共亏损2.46亿元。2024年下半年,上交所对绝味食品下发监管工作函,其中就提到投资活动现金流持续为负,连续多个报告期出现投资亏损的问题,要求公司说明投资收益连年亏损的情况下持续对外投资的必要性。根据公司披露的内容,2023年的投资项目大部分都处在亏损状态,另外存量投资项目中有6项存在投资收回风险。
从目前来看,多元化投资不仅没有起到分散风险的作用,反而带来了新的风险,并且拉低了股东回报。绝味食品2017年上市,上市以来融资29.85亿元,累计分红23.64亿元,分红金额小于融资额。
销售下滑、净利率大降 绝味食品如何扭转困局?
在专注投资的同时,绝味食品的主业开始失守。2024年营业收入62.57亿元,同比下滑13.84%,今年一季度收入再度下滑11.47%,从净利润来看,绝味食品2022年就进入下行通道,从最高9.81亿元下滑至2024年的2.27亿元。
收入下滑背后是公司不断关店的现实,2024年中报披露门店数量为14969家,相比上年底减少981家。年报一反常态未披露门店数据,而根据窄门餐眼的数据,在营门店数量为12428家,按照这一数据估算,下半年公司在加速关店。
事实上,依靠门店扩张带动增长的逻辑在2022年戛然而止,当年门店总数达到15076家,增速达到近10%,而营业收入仅增长1.13%。
背后其实反映了绝味食品品牌老化、渠道失守的现实。新崛起的卤味品牌正通过线上通过通过小红书、B 站增加曝光,线下则通过主流商超和便利店、社区团购、电影院等多渠道渗透。相比之下,留给传统卤味巨头的是“价格越来越贵”、“为什么卤味卖不动了”等热门话题。
在今年5月初的投资者活动中,管理层提到“迎合新消费新群体的需求, 除了传统的大单品,多品类全渠道的建设非常重要“,公司能否成功转型,还有待观察。
除了收入下滑之外,绝味食品目前面临的另一个威胁是净利率大幅下滑。2021年以前公司净利率一直在10%以上,近几年迅速降至3%左右。
造成净利率下滑的原因很多,其中包含单店销量下滑提高成本,费用率逆势提升,以及投资亏损等。
对于绝味食品来说,如何避免进入销售下滑、成本费用提升的负面循环,可能是当务之急。而公司庞大的投资究竟能否带来预期收益,同样需要持续关注。